ECK TEC - moderné riešenie drevospojov
Chcete mať moderný vzhľad prístrešku alebo pergoly?
Zavadzajú vám zbytočné ,,šibenice", paženia, výztuhy..., tak potom tu máme pre vás originálne
riešenie ECK TEC od nemeckej firmy EUROTEC


EckTec je kvalitný výrobok nemeckej firmy EUROTEC
Hlavné výhody EckTec uholníka (napr. verzie 100 + skrutky) sú hlavne v tom, že ide o špeciálny spojovací prvok pre drevostavby a pergoly, navrhnutý tak, aby bol pevný, rýchly na montáž a nenápadný.
1. Vysoká pevnosť spoja
-
Kombinácia masívneho hliníkového profilu a špeciálnych skrutiek KonstruX prenáša veľké ťahové a tlakové sily.
-
Umožňuje bezpečné spojenie nosníka so stĺpom aj pri vysokom zaťažení (napr. strecha pergoly, prístrešky).
2. Jednoduchá a rýchla montáž
-
Montáž zvládne jedna osoba bez zložitého náradia.
-
Skrutky sa montujú pod uhlom, čo zvyšuje pevnosť, ale stále stačí klasický aku-skrutkovač.
-
Návod montáže je jednoduchý:obsahuje len 3 kroky
-
Najskôr ako prvý krok EckTec uholník sa upevní dvoma skrutkami 3,5 × 40 mm typu Paneltwistec.

Na spojenie sa prvé skrutky KonstruX ST s plným závitom 8 × 155 mm osadia do stĺpika automaticky pod uhlom 25°.

Po montáži priečnych skrutiek je možné osadiť ostatné skrutky KonstruX ST s plným závitom 8 × 95 mm pod uhlom 90°.

Pozri videonávod 👇

3. Estetické riešenie
-
Spoj je skrytý zvnútra uhla, takže z vonkajšej strany stavby nie sú vidieť veľké oceľové pätky alebo pláty.
-
Čistý vzhľad – hodí sa aj pre moderné drevené konštrukcie.
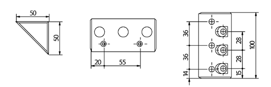
ROZMERY

4. Odolnosť voči poveternostným vplyvom
-
Vyrobené z hliníkovej zliatiny EN-AW 6063-T66, ktorá je odolná voči korózii.

-
Vhodné pre exteriér bez ďalšej povrchovej úpravy.
-
Skrutky sú žiarovo zinkované, aby vydržali vlhko a zmenu teplôt.
5. Univerzálnosť použitia
-
Hodí sa na rôzne prierezy hranolov (najmä 100×100 mm, ale aj iné).
-
Možno použiť pre pergoly, altánky, prístrešky, drevené terasy či prístavby.
💡 Ak by som to mal zhrnúť jednou vetou: EckTec je spojka, ktorá spája drevo pevne ako oceľová pätka, montuje sa rýchlo ako obyčajný uholník a vyzerá lepšie než oboje.

objednať tu:👉 Uholník EckTec 100 + skrutky - Spojovací materiál Progres TK
VIDEONÁVOD MONTÁŽE 👇









